W nowym patencie odkrytym przez tech4gamers.com, AMD wyraża swoje obawy dotyczące ograniczeń przepustowości standardu DDR5, zwłaszcza teraz, gdy stale rośnie zapotrzebowanie na moc obliczeniową sztucznej inteligencji. Podczas gdy Nvidia i producenci układów pamięci, tacy jak Samsung, SK Hynix i Micron koncentrują się na standardzie SOCAMM2 aMD proponuje alternatywę, która byłaby łatwiejsza do wdrożenia w istniejących systemach DDR5, niezależnie od tego, czy są to rozwiązania konsumenckie, czy centra danych.
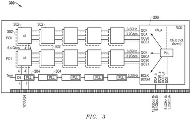
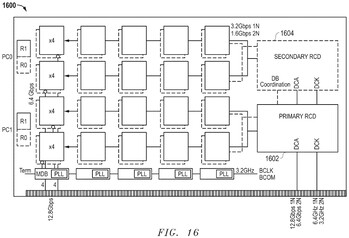
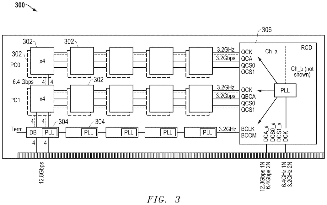
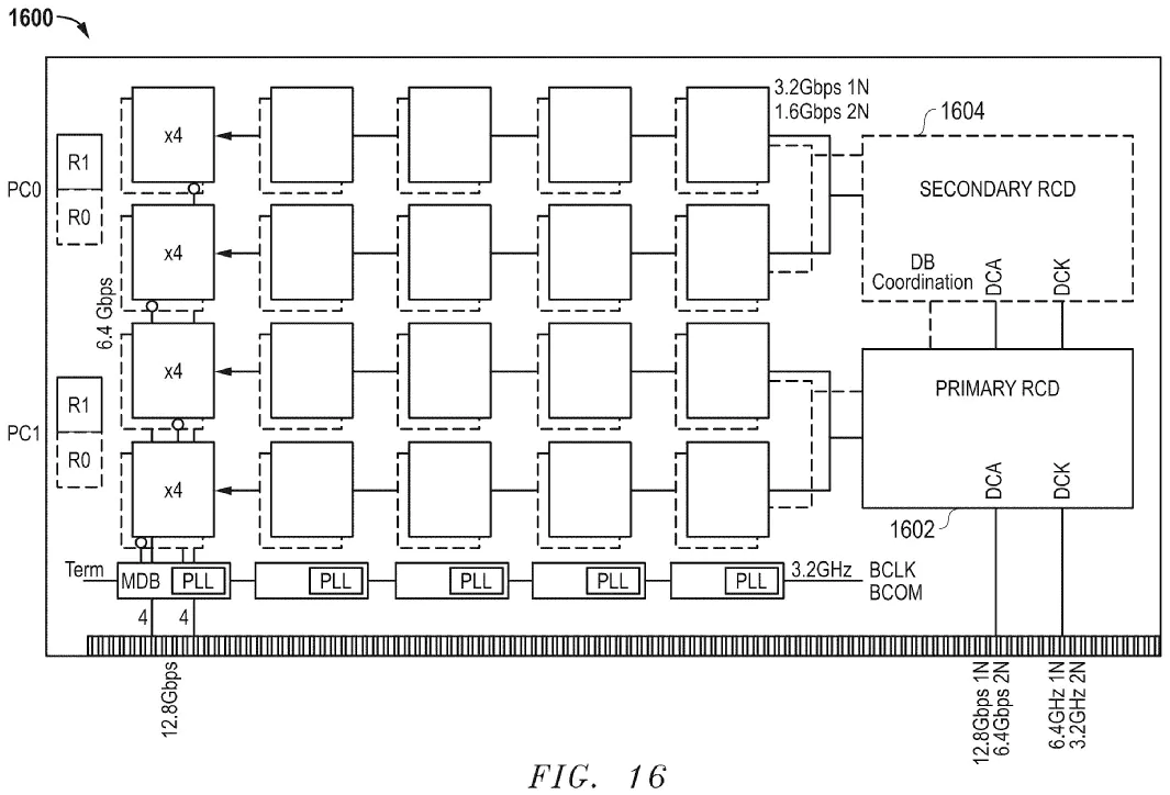
Ulepszony standard pamięci AMD obejmuje "architekturę modułów pamięci o wysokiej przepustowości", która zasadniczo podwaja obecną maksymalną przepustowość DDR5 wynoszącą 6,4 Gb / s. W tym miejscu należy zauważyć, że przepustowość 12,8 Gb/s została osiągnięta bez modyfikowania konstrukcji układów DRAM. Zamiast tego, układy DRAM zostały umieszczone w modułach pamięci HB-DIMM (dual in-line memory module) o wysokiej przepustowości. Moduły integrują również szereg dodatkowych komponentów sprzętowych, takich jak specjalne układy buforowe, które umożliwiają przesyłanie danych dwa razy szybciej niż pozwala na to standard DDR5. Co więcej, moduł wykorzystuje sterowniki zegara rejestru (RCD), które kierują sygnały bardziej efektywnie, zrównoleglając dostęp do pamięci, a tym samym przełamując ograniczenia przepustowości standardu DDR5.
W zgłoszeniu patentowym zauważono, że moduły HB-DIMM umożliwiają szybkie przełączanie między trybami pseudokanałowymi i quad-rank, dzięki czemu rozwiązanie jest opłacalne dla HPC, przypadków użycia sztucznej inteligencji, a także systemów gier. Kompatybilność z DDR5 jest zapewniona dzięki elastycznym trybom taktowania oraz formatowi transferu danych bez przeplotu, który utrzymuje integralność sygnału i niskie opóźnienia.
Wygląda na to, że HB-DIMM jest bardzo podobny do istniejącego standardu MRDIMM (Multiplexed Rank Dual Inline Memory Modules) firmy Micron. Jednak MRDIMM jest dostępny tylko dla platformy Intel Xeon Granite Rapids, więc AMD prawdopodobnie chce mieć coś podobnego dla przyszłych procesorów EPYC. Phoronix opublikował niedawno test DDR5-6400 vs MRDIMM-8800 i okazało się, że autorski standard Microna rzeczywiście jest szybszy, ale z pewnością nie dwukrotnie szybszy od DDR5.
SOCAMM2 cieszy się obecnie większym wsparciem w branży, więc HB-DIMM od AMD może mieć trudności z przyjęciem się, przynajmniej jeśli chodzi o sektory HPC i serwerów.
Źródło(a)
przez Techradar / Tech4Gamers / OC3D.net







