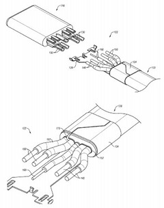
Tytułowy patent pochodzi z 2016 roku i określa to rozwiązanie jako "ultra-thin USB-C connector". Wczoraj doczekał się publikacji przez biuro patentowe.
Cel był prosty do przewidzenia. Spłaszczenie końcówki, aby móc ją stosować w coraz smuklejszych smartfonach, tabletach i laptopach typu 2 w 1. Tak, by interfejs nie ograniczał inżynierów przy tworzeniu nowych konstrukcji - choćby nadchodzących urządzeń z rodziny Surface.
Przypomnę krótko, że firma Microsoft ma w planach na najbliższe miesiące debiut co najmniej dwóch nowych komputerów przenośnych.
Źródło: MSPoweruser
