Samsung Display, spółka zależna Samsung Electronics, często prezentuje koncepcje na targach branżowych, takich jak Consumer Electronics Show (CES) Mobile World Congress (MWC), między innymi. Na przykład wyprodukowany wyświetlacz wykorzystał MWC 2025 do zaprezentowania różnych innowacji, w tym Flex Gaming i Flexible Briefcase.
Zazwyczaj te koncepcje pozostają dokładnie takie i nigdy nie trafiają do masowej produkcji. Wydawało się jednak, że Samsung Display wykorzystał również MWC 2025 do drażnienia składanych paneli, które będą stanowić podstawę Samsunga pierwszy konsumencki tri-fold i następca do Galaxy Z Fold6 (obecnie 1,099 USD - odnowiony na Amazon).
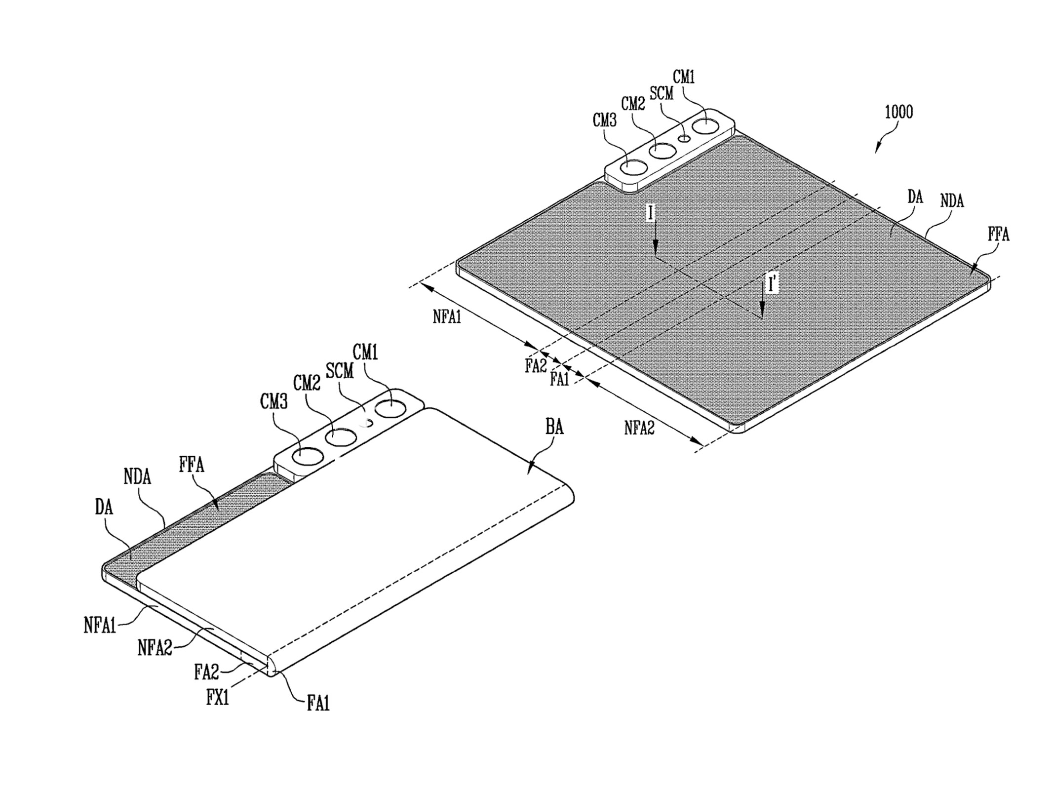
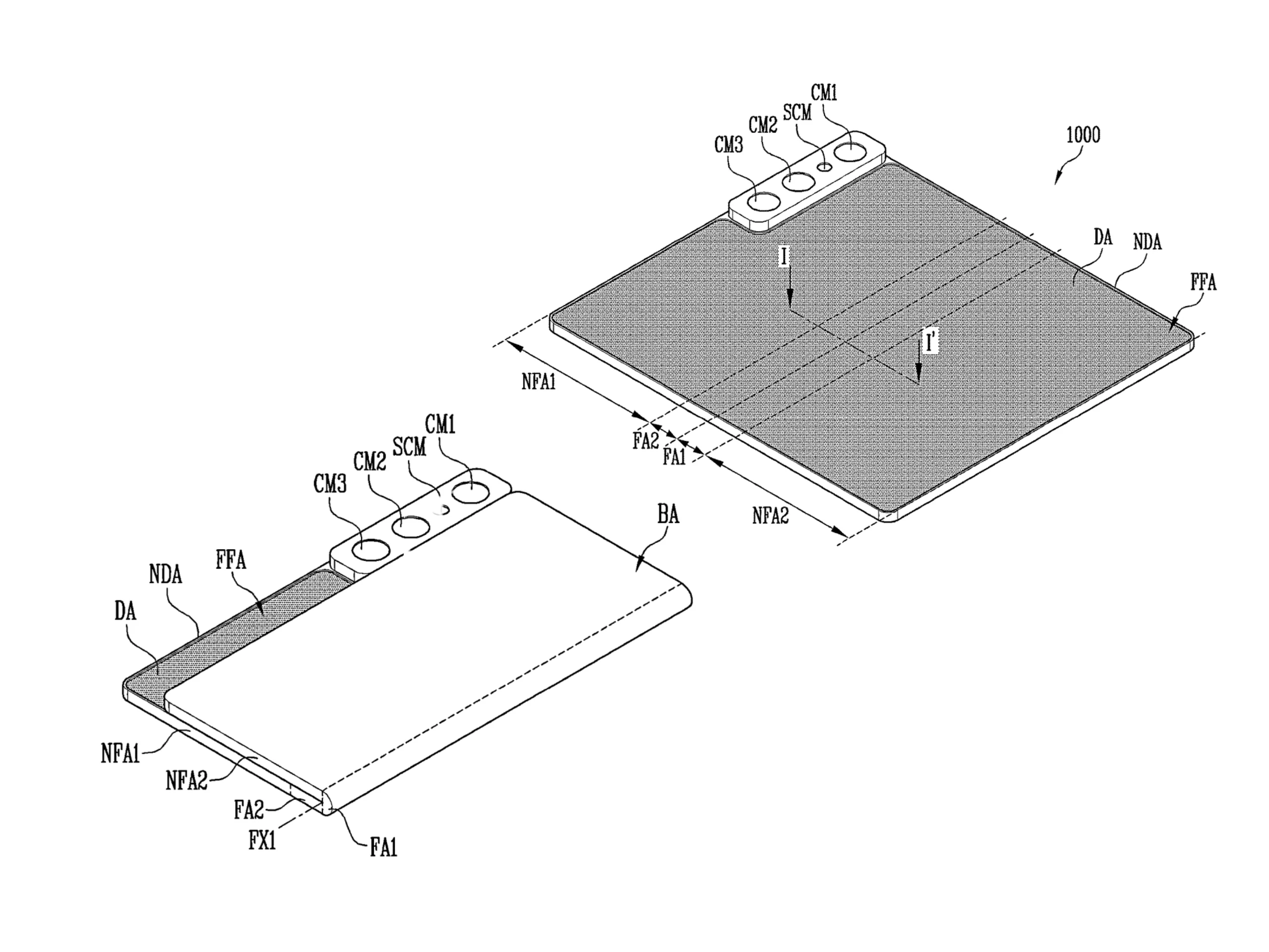
Teraz firma otrzymała zatwierdzenie projektu od Biura Patentów i Znaków Towarowych Stanów Zjednoczonych (USPTO) dla całkowicie nowej, składanej obudowy (USPTO) dla całkowicie nowej składanej formy. Jak pokazują poniższe rysunki patentowe, koncepcja ta może składać wyświetlacz do wewnątrz i na zewnątrz, a nie tylko w jedną stronę, jak w przypadku istniejących składanych urządzeń konsumenckich. W efekcie koncepcja ta łączy w sobie zasady Galaxy Z Fold i Huawei Mate Xs lub Mate Xs 2 w jednym urządzeniu.
Opatentowany projekt różni się od Flex In N Out, który Samsung Display zaprezentował podczas targów CES 2023 ponad dwa lata temu. Podsumowując, Flex In N Out wyglądał jak zwykły składany telefon, który można było składać do wewnątrz i na zewnątrz. Natomiast nowa koncepcja Samsung Display pozostawia część wyświetlacza odsłoniętą pod wyobrażonym potrójnym układem kamer. Chociaż szanse na realizację tego projektu są niewielkie, możemy w końcu zobaczyć, jak Samsung Display prezentuje rzeczywisty przykład na przyszłych targach, tak jak to miało miejsce na początku tego roku w przypadku Flex Gaming.















